1688工业品
工业行家选
企业采购
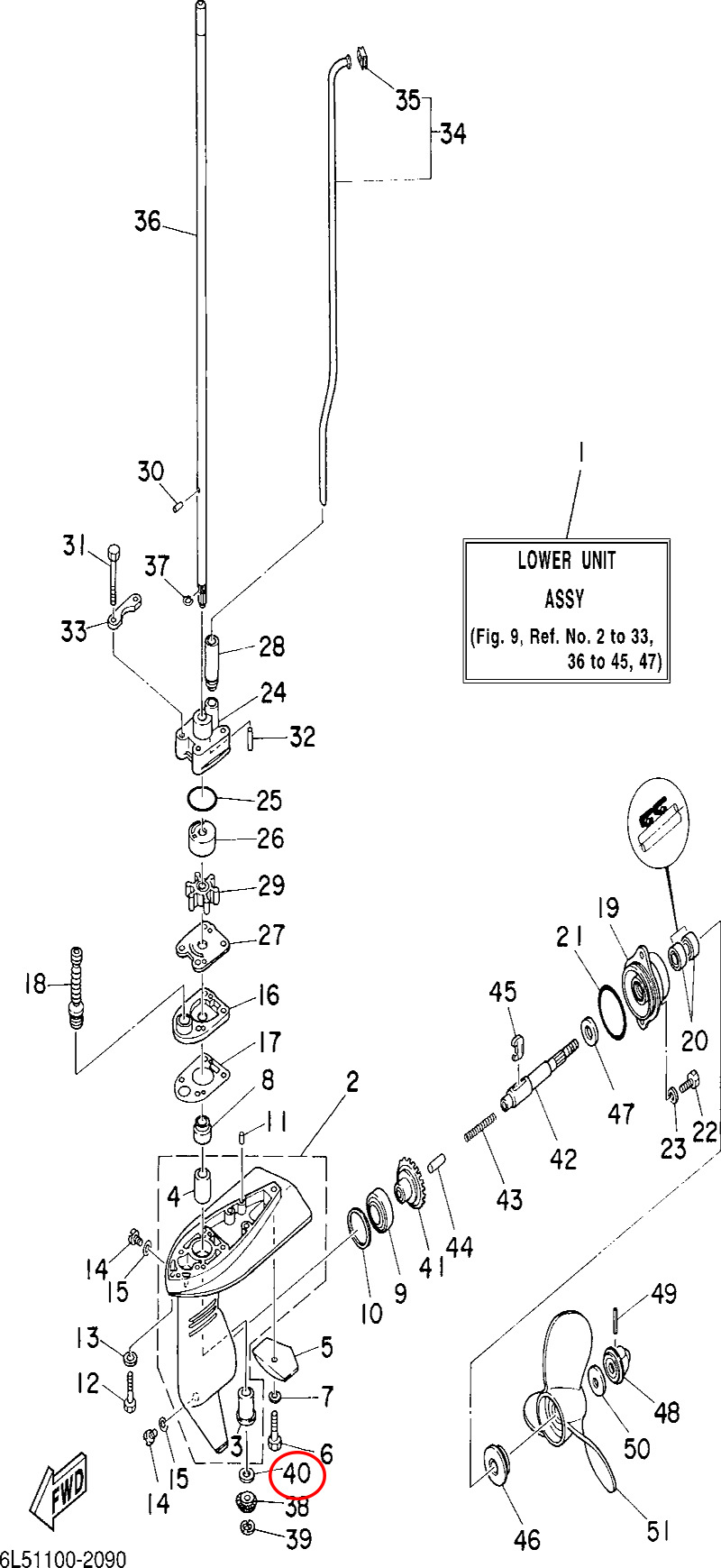
40)翟墨DEMONS舷外机船外挂橡皮艇冲锋舟主动齿垫圈6L5-45533-00
¥
5
.96
/件
晚发必赔
浙江金华
询价
搜同款
1688工业品为您提供在线免费查询更多履带挖掘机详细参数、实时报价、规格一览表。更多关于履带挖掘机多少钱一台/履带挖掘机报价明细/履带挖掘机规格型号表/履带挖掘机价格一览表/履带挖掘机官方报价等咨询,尽在1688工业品。
询底价>
为你找到船舶专用配件相关产品
适用于 L80GF(GB)机型船用柴油机备件推荐
¥
6
万
售10+件
河北秦皇岛
在线询价
船用挂机 48v.2000w
¥
7250
售10+件
浙江舟山
在线询价
供应帕金斯2306发动机2806电喷发电机组缸盖总成
¥
2
.6
万
售10+件
广东深圳
在线询价
原装YAMAHA/雅马哈4冲20匹舷外机船外机橡皮艇冲锋舟后操发动机
¥
2
.7
万
售10+件
山东青岛
在线询价
【特卖】 K45GF(GB)机型船用柴油机备件 原厂全新 配件
¥
1500
售10+件
河北秦皇岛
在线询价
供应帕金斯柴油发电机组零部件 缸套胶圈OE52244
¥
120
售10+件
广东深圳
在线询价
新能源电动船艇船用舷外机60马力电力推进器船外机游艇
¥
5
.8
万
售10+件
河北沧州
在线询价
供应韩国大宇柴油发动机发电机组维修配件P086TI
¥
1563
售10+个
广东深圳
在线询价
开利中央空调配件 06E 06D压缩机 06EA660110 活塞 活塞销
¥
250
售10+个
广东广州
在线询价
供应瑞典沃尔沃柴油发动机压力传感器VOE21302639
¥
2600
售10+件
广东深圳
在线询价
【汉邦】4冲程6匹船外机 冲锋艇外挂机 渔船动力 优质长短轴马达
¥
2900
售10+件
浙江金华
在线询价
售优动YODOO 1-3马力领航员系列 船用推进器钓鱼船用冲锋舟发动机
¥
2760
售10+件
山东威海
在线询价
查看更多产品及报价
您可能在找
其他船舶专用配件
船用发动机配件
缆绳、锚绳
船锚、锚链
输送线
三轮车
相关商品推荐
批发道依茨226B船用柴油机铜包石棉垫铝包石棉垫马口铁包石棉垫
供应潍柴道依茨TD226B-4C船用发动机增压器13024375
新远公司新到库适用于主流机型的船舶设备
HIDEA/海的4马力2冲船外机 橡皮艇冲锋舟专用发动机 厂家供应
船外机 挂浆机 船用挂机 船用挂浆机 船用马达 画舫 电动
适配雅马哈60-85HP船外机螺旋桨配件 船用配件,牺牲阳极
适配115-300马力船外机 铝合金弓型阳极船用配件系列
优惠船舶物资-供应HANSHIN 6L26BGSH气缸套
供应大宇发动机维修配件止推轴随P180LE
供应韩国大宇柴油发动机发电机组维修配件P086TI
供应帕金斯发电机组水套加热器590-600
开利中央空调配件 06E 06D压缩机 06EA660110 活塞 活塞销
【汉邦】船外机汽油挂机 四冲程15马力船用冲锋舟马达配件
木休闲船用电动挂桨机 24v 1000w
新能源船艇电动船用推进器60马力电动船外机
国产海的船外机 9.8马力2冲程短轴充气艇钓鱼艇橡皮艇发动机
电动画舫 前操纵 船用电动推进器
供应三菱发电机组S6B-PTA四配套零配件-缸套 活塞环 活塞 连杆瓦
供应帕金斯柴油发电机组零部件 缸套胶圈OE52244
适配东发5-6HP船外机螺旋桨 船用铝合金材质螺旋桨
热门搜索趋势
影视器材
美人蕉
伊利金领冠珍护
一套炼油设备多少钱
蜂王浆
外置usb声卡
玻璃隔断墙价格
lax音响
在线寻源
3000行家正在找货